TeraFOCS:

ALL FIBER OPTIC HIGH FREQUENCY CURRENT SENSOR CONTROLLER MODULES FOR OFFLINE PD TESTING

wHAT IS TERAFOCS?

 

TERAFOCS IS A portable all fiber optic HIGH FREQUENCY CURRENT SENSOR INTERROGATOR MODULE FEATURING TERABIT wavefront event DETECTION RESOLUTION FOR OPTICAL partial discharge testing DURING neta-prescribed OFFLINE VLF OVERPOTENTIAL TESTING! 

 

order your opticampere terafocs today!

 

contact: sales@opticampere.com

 

 

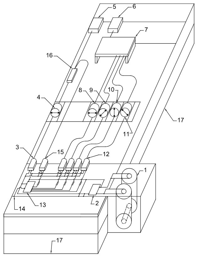
1) Battery Cells

2) Voltage Regulator Chip

3) Singlemode Fiber Coupled Laser (1310 nm)

4) All-Fiber Linear Polarizer: Generator

5) PM Aligning Module Bulkhead Adapter (TX Port)

6) Module Bulkhead Adapter (RX Port)

7) 1X4 Polarization Maintaining Star Coupler

8 -11) All-Fiber Linear Polarizers: Analyzer 

12) Fiber-Coupled Photodiodes

13) DSP Chip w/ Integrated Single-Ended A-D Inputs

14) HMI Screen

15) Generator Sampling Fiber-Coupled Photodiode

16) 1X2 Polarization Maintaining Coupler

17) ESD Module with Integrated Splice Trays for All-Fiber Polarizers